
6392 150W 6.6A PKX30D

Артикул:
689
Код для заказа:
308639274
Производитель:
Philips
Назначение:
Галогенные
Категория:
Авиационные
Характеристики
Мощность, Вт
150.00
Напряжение, В
0.00
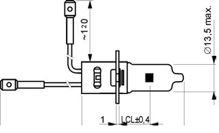
Цоколь
PKX30d
Срок службы, часов
1000
Диаметр, мм
13
Применение
Аэродромное освещение